最新IP情報
ミーンズ・プラス・ファンクション限定における構造的均等の立証責任 に関する連邦巡回控訴裁判所判決 Genuine Enabling Technology LLC v. Sony Group Corporation (Federal Circuit, February 19, 2026)
本判決において、米国連邦巡回区控訴裁判所(以下CAFC)は、特許権者が、被疑デバイスが特許発明と実質的に同じ方法で請求項の機能を果たすことを立証しようとした際、明細書に記載された構造のすべてを考慮に入れていなかったことを理由に、非侵害とした地裁の決定を支持いたしました。詳細は以下のとおりです。
<背景>
ミーンズ・プラス・ファンクション限定は、その機能を果たすための具体的な構造や材料ではなく、果たされるべき機能を記載するものである。このような限定は、明細書に記載された対応する構造およびその均等物をカバーするものと解釈される。ミーンズ・プラス・ファンクション限定の文言上の侵害が成立するには、被疑デバイスにおける関連する構造が、クレームに記載された機能と同一の機能を果たし、かつ明細書中の対応する構造と同一または均等である必要がある。当事者は、被疑デバイスの関連構造が、開示された構造と「実質的に同じ方法で、実質的に同じ結果を伴って、同一の機能を果たす」ことを示すこと(機能・方法・結果テスト)により、その構造が均等であることを立証できる。
Genuine Enabling Technology LLC(以下、GET社)は、キーボード、ペン、マウス、マイクロフォン、モデムなどのコンピュータ用入力デバイスに関する米国特許第6,219,730号の特許権者である。同特許は、これらの供給源からデータを受信するために、コンピュータが各入力デバイスに対して専用のリソースを必要とし、リソースが限られていることが問題になる点を課題としている。同特許は、異なる入力デバイスからのデータストリームを組み合わせることにより、コンピュータのリソース数を最小限に抑えることで、これらの問題を解決しようとするものである。
代表的な請求項10を以下に示す。
A user input apparatus operatively coupled to a computer via a communication means additionally receiving at least one input signal, comprising:
user input means for producing a user input stream;
input means for producing the at least one input signal;
converting means for receiving the at least one input signal and producing therefrom an input stream; and
encoding means for synchronizing the user input stream with the input stream and encoding the same into a combined data stream transferable by the communication means,
wherein the input means is an input transducer.
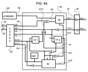
GET社は、ソニーのPlayStation用コントローラおよびコンソールに搭載されているBluetoothモジュールが本特許を侵害していると主張して、デラウェア州連邦地方裁判所にSony Group Corporationを提訴した。地裁の審理では「エンコード手段」の限定事項に焦点が当てられ、裁判所はこれを米国特許法第112条第6項(現在の112条(f)項)に基づくミーンズ・プラス・ファンクション限定であると解釈した。対応する構造は、図4Aのブロック34の論理設計およびその均等物とされた。以下に示す図4Aから分かるように、ロジックブロック34には、データセレクタ50、フリップフロップFF1およびFF2、発振器OSC、クロックジェネレータ62などの複数のコンポーネントが含まれている。

地裁の公判前手続中に、GET社は、ロジックブロック34により2つのデータストリームを同期させる「方法」の説明において、ブロック34に含まれる多くの要素を無視しようとした。具体的には、GET社は、ロジックブロック34による同期方法を単に「両方を共通のビットレートクロックに同期させること」であると定義し、データセレクタ50が2つのデータストリームをサンプリングして同期出力を生成するなどの詳細を無視しようとした[1]。このようにブロック34のビットレートクロック信号BCLKのみに焦点を絞ることにより、GET社は、Bluetoothモジュールの回路図を一度も参照することなく、請求項の構造と被疑製品の構造とが均等であると主張することが可能となった。しかしながら地裁は、このように「方法」を広義に定義しようとするGET社の試みを退け、非侵害の略式判決を求めるソニーの申し立てを認めた。
<CAFC判決>
CAFCは地裁による判断を支持し、単にロジックブロック34のビットレートクロックを被疑製品と比較するだけでは、請求項の構造と被疑構造とが均等であることを示すには不十分であると判断した。特に同裁判所は、構造的均等の判断において、明細書中の各構造を被疑製品の均等な要素に一対一で対応させる必要はないものの、特許権者が均等性分析の焦点を明細書に開示された全構造の一部に絞ることを選択した場合、特許権者はそれ以外の要素を除外することが許容される理由を説得力をもって説明する義務があると指摘した。同様に、CAFCは、特定された構造の中で中心的な役割を果たす個々のコンポーネントに大きな重みを置くことは法律上認められているが、そのことにより、特定された構造のすべての要素を考慮し、且つなぜ特定の要素が侵害分析において他よりも中心的であるのかを説明するという特許権者の義務が免除されるわけではないと述べた。
GET社は、侵害分析においてロジックブロック34の多くの要素をなぜ除外すべきなのか、あるいはなぜ最小限の重みを与えるべきなのかについて、いかなる証拠も提示できなかった。そのためCAFCは、ソニーの製品が特許に記載された構造と実質的に同じ方法で請求項の機能を果たしていると、合理的な陪審員が結論付けることは不可能であると判断した。
<参照リンク>
本判例は、以下のリンクでご覧いただくことができます。
24-1686.OPINION.2-19-2026_2649632.pdf
[1] GET社がこのような戦略を採ったのは、ソニーの被疑製品におけるBluetoothモジュールの内部構造に関して、ディスカバリー(証拠開示)を通じて十分な情報を得ることができなかったためであると考えられる。
- 本欄の担当
- 弁理士法人ITOH
所長 弁理士 伊東 忠重
副所長 弁理士 吉田 千秋
担当: 弊所米国オフィスIPUSA PLLC
米国特許弁護士 Herman Paris
米国特許弁護士 有馬佑輔
