最新IP情報 IP NEWS
ミーンズ・プラス・ファンクション限定に関する連邦巡回控訴裁判所判決 Magnolia Medical Technologies, Inc. v. Kurin, Inc. (Federal Circuit, March 6, 2026) & Richard Gramm v. Deere & Company (Federal Circuit, March 11, 2026)
“means(手段)” を使用しないクレームの文言は米国特許法第112条(f)(以下、§112(f))において、ミーンズ・プラス・ファンクションではないと推定されます。当該クレームがその機能を実行するのに十分に明確な構造を記載していない場合には、この推定は覆され得ます[1]。ミーンズ・プラス・ファンクションに該当すると分類されたクレームの文言は、明細書に開示された対応する構造及びその均等物に限定して解釈されます。また、クレームされた機能を実行するための十分な対応構造が明細書に開示されていない場合、米国特許法第112条(b)(以下、§112(b))に基づき、当該クレームは不明確(indefinite)となります。特に、コンピュータ実装型のミーンズ・プラス・ファンクション限定においては、クレームされた機能を達成するためにコンピュータが実行するアルゴリズムが対応構造に含まれていなければなりません[2]。なぜなら、汎用コンピュータやマイクロプロセッサは、同一の特定の機能を実現するためであっても、大きく異なる様々な形にプログラムされ得るからです。
最近、連邦巡回控訴裁判所(以下CAFC)は、上記の原則を適用した2件の判決を示しました。Magnolia判決において、CAFCは、 “diverter” (動詞 “divert”に接尾辞“-er”を付加して形成された名詞)という文言について、機能を実行するのに十分な構造がクレームに記載されていなかったとして、ミーンズ・プラス・ファンクション限定として解釈されるべきと判断しました。
また、Richard Gramm v. Deere & Company判決において、CAFCは、一連のダイオード、スイッチ、及び集積回路を介して物体の垂直位置を制御する論理回路について、アルゴリズムの開示は不要と判断しました。さらに、クレームに記載されていない機能を実行できないことを理由として当該論理回路を「対応する構造」から除外することは不適切であると判断しました。
これら二つの判決は、クレームに記載された特定の機能との関連において、構造を慎重に検討することの重要性を強調しています。
詳細は以下のとおりです。
Magnolia Medical Technologies, Inc. v. Kurin, Inc. (Federal Circuit, March 6, 2026)
Magnolia Medical Technologies, Inc.(以下Magnolia社)は 、米国特許第 9,855,001(以下、‘001特許)の特許権者である。‘001特許は、病原性微生物の存在の判定をするために用いられる血液検査の正確性を向上させる装置に関するものである。特に、患者の皮膚表面に存在していた微生物が検査対象の血液サンプルに混入することによって引き起こされる偽陽性を減らす装置である。混入した微生物は患者から採取される血液の初期採取分に現れる傾向があり、‘001特許は、血液の初期採取分を分離・排除することにより、偽陽性を減らす装置である。‘001特許のクレーム1を以下に示す。
-
-
-
- An apparatus for obtaining a bodily fluid sample from a patient with reduced contamination, the apparatus comprising:
-
-
a reservoir configured to receive an initial volume of bodily fluid withdrawn from the patient; and
a diverter having an inlet, a first outlet in fluid communication with the reservoir, and a second outlet, the inlet configured to be fluidically coupled to the patient, the diverter operable in a first operating mode in which an initial volume of bodily fluid can flow from the inlet to the first outlet, and a second operating mode in which: a) a subsequent volume of bodily fluid can flow from the inlet to the second outlet, and b) the initial volume of bodily fluid is prevented from flowing to the second outlet,
the diverter configured to transition from the first operating mode to the second operating mode as a result of the initial volume of bodily fluid flowing from the patient and substantial pressure equalization, thereby sequestering in the reservoir contaminants present in the initial volume of bodily fluid, thereby reducing contamination of the subsequent volume of bodily fluid withdrawn from the patient.
‘001特許の図6Aと6Bは、患者の静脈と連通する入口514、プレサンプルリザーバーと接続する第1出口516、サンプル用の容器と接続する第2出口518、及び血液をいずれかの経路に導く切り替え可能なバルブ602を含む、本発明の一実施形態を示している。

Kurin, Inc(以下、Kurin社)は採取される血液の初期採取分を隔離し、これを、検査用に採取される残りの血液から分離する小型プラスチック装置を販売している。Magnolia社は、Kurin社の装置が‘001特許のクレーム1を侵害していると主張して、デラウェア州連邦地方裁判所(以下、デラウェア州地裁)にKurin社を提訴した。審理の前に、デラウェア州地裁は “diverter” の用語をミーンズ・プラス・ファンクション限定であるとして解釈し、 “diverter” の範囲を‘001特許明細書の対応構造のみに限定した。Kurin社の装置が地裁の解釈通りの“diverter”を含まないことについては争いがなかったため、当事者双方は‘001特許の非侵害について同意した。
Magnolia社はデラウェア州地裁の “diverter” の解釈についてCAFCに上訴した。CAFCは、クレームの“diverter”の機能が”体液を二つの経路のうち一つに導くこと”であるという当事者間の合意に言及し、その分析を開始した。次に、§112(f)が適用されないという推定を覆すために、当該機能を実現するための十分な構造がクレーム1に記載されていないことをKurin社が証明する必要があると、CAFCは指摘した。ここで、CAFCは、クレーム1において”inlet configured to be fluidically coupled to the patient“や入口(inlet 514)に接続された第1出口(first outlet 516)及び第2出口(second outlet 518)といった“diverter”の構造的要素が記載されていることを指摘した。クレーム1に記載されているとおり、第1出口は入口からの初期の体液量を受け入れ、第2出口は、その後に入口から供給される体液量を受け入れるものとなっている。
クレーム1に二つの出口が記載されているにも関わらず、CAFCは、入口及び二つの出口は、いずれも体液を二つの経路のうち一方に導く構造ではないという理由で、Kurin社は、立証責任を果たしたと結論付けた。特に、CAFCは、クレームに記載された入口と二つの出口に対して、明細書では、体液を二つの経路のうち一つに導くことが可能な”diverter”として、追加構造(例えば図6Aおよび6Bに示される切替可能バルブ602など)を備える構成のみが記載されていると指摘した。したがって、CAFCは、このような追加構造がなければ、クレーム1は導く(directing)という機能を達成するためには不十分であり、請求項1に“means”の文言が含まれないことから§112(f)が適用されないとする推定は覆されると判断した。
Richard Gramm v. Deere & Company (Federal Circuit, March 11, 2026)
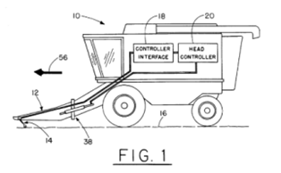
Richard Gramm(以下Gramm)は 、米国特許第 6,202,395(以下、 ‘395特許)の特許権者である。‘395特許は、収穫機[3]が畑を走行する際に、収穫機のヘッダーを地面から所望の高さに維持するための装置に関するものである。‘395特許の図1には、ヘッダー(12)、制御インターフェース(18)、ヘッドコントローラ(20)、油圧制御システム(38)を含む収穫機(10)の概略図が示される。

Gramm[4]は、Deere & Company(以下、Deere社)に対し、Deere社の特定のヘッダーセンサーキットが‘395特許のクレーム12を侵害しているとして、アイオワ州南部地区連邦地方裁判所[5](以下、アイオワ州地裁)に提訴した。以下、クレーム12を示す。
-
-
-
- Apparatus for maintaining a non-cut crop header in a crop harvester a designated height above the soil as the crop harvester traverses a field, said apparatus comprising:
-
-
. . .
control means coupled to said header and said angular deflection sensing means and responsive to said first signal for raising or lowering the header in accordance with said first signal in maintaining the header a designated height above the soil, wherein said flexible arm and angular deflection sensing means are attached to a head housing disposed on a forward portion of said combine and said head housing is comprised of polyurethane and includes a metal tip and a mounting bracket for attaching said metal tip to a forward end of said head housing, and wherein said mounting bracket further couples said flexible arm to a forward end of said head housing.
アイオワ州地裁では、当事者双方は、§112(f)に基づき“control means”がミーンズ・プラス・ファンクション限定であること、“control means”に関連付けられたクレーム記載の機能が「raising and lowering the header a designated height above the soil(ヘッダーを土壌面から所定の高さまで昇降させること)」であることについて合意した。また、当事者双方は、クレームに記載された“control means” に対応する構造が、明細書において“制御インターフェース18”、 “ヘッドコントローラ 20” 及び “油圧制御システム38”の3つの要素で全体を構成するものであること、及びこれらの記載が以下の段落に記載されていることについても合意した。
The corn head height sensor 14 is connected by a suitable electrical means to a controller interface 18 and a head controller 20 within combine 10. In response to the detected height of the corn header 12, head controller 20 provides suitable electrical control signals to an electrically actuated, hydraulic control system 38 for controlling the lateral position of the corn header 12 as well as its height above the ground, or soil, 16 as the combine 10 traverses a field in the direction of arrow 56. Head controller 20 is conventional in design and operation and, in general, receives an analog electrical signal from the controller interface 18 and outputs an analog signal to the hydraulic control system 38 . . . In a specific embodiment of the present invention, head controller 20 is as incorporated in a Deere combine, while controller inter-face 18 is available from May-Wes.
明細書にはヘッダーの高さを昇降させるアルゴリズムが記載されていなかったので、当事者双方は、ヘッドコントローラ20を汎用コンピュータもしくはマイクロプロセッサとして扱うべきか否かが争点となった。ここで、明細書においてヘッドコントローラは「incorporated in a Deere combine(Deere社のコンバインに組み込まれた)」という記載のみで、それ以上の詳細はなかったことから、Grammは‘395特許の優先日時点でDeere社の収穫機に使用されていた三種類の市販のヘッドコントローラに関する証拠を提出した(以下、Dial-A-Matic Versions #1、#2及び#3とする)[6]。これらのうち、 Dial-A-Matic Version #1では、一連のダイオード、スイッチ、及び集積回路を含む論理回路に基づいてヘッダーを昇降させていた。一方、Dial-A-Matic Version #2及び#3は、ヘッダーの高さを制御するソフトウェアがプログラムされたマイクロプロセッサベースのコントローラによって構成されていた。
アイオワ州地裁は、‘395特許の明細書において、“control means”がヘッダーの横方向の位置を制御可能であることを示す一方、Dial-A-Matic Version #1にはそのような横方向の位置を制御する機能が備わっていないことから、“control means”に対応する構造が、Dial-A-Matic Versions #2 及び#3のみを含むと結論づけた。そして、Dial-A-Matic Versions #2 及び #3は、いずれもマイクロプロセッサによって構成されていることから、アイオワ州地裁は、汎用コンピュータもしくはマイクロプロセッサが当該クレームされた機能を達成するためのアルゴリズムが明細書に開示されていなければならないと判断した。アイオワ州地裁は、明細書にはアルゴリズムの開示がないため、クレーム12は不明確であると判断した。
GrammはCAFCに上訴した。過去の判例を検討した結果、CAFCは、Dial-A-Matic Version #1が単にヘッダーの横方向の位置を制御するというクレームに含まれない機能を果たさないという理由のみで、ヘッダーを昇降させるクレームに記載された機能を達成するDial-A-Matic Version #1を除外したアイオワ州地裁の判断は不適切であると判断した。次に、Dial-A-Matic Version #1は、ヘッダーを昇降させるために(Dial-A-Matic Versions #2及び#3のマイクロプロセッサではなく)一連のダイオード、スイッチ、集積回路を含む論理回路を使用しており、CAFCは、Dial-A-Matic Version #1は、アルゴリズムの開示が必要となる汎用コンピュータには該当しないと結論付けた。したがって、CAFCは、クレーム12の“control means”が不明確であるというアイオワ州地裁の決定を覆した。
実務上の指針
CAFⅭによる過去のWilliamson判決は、「本質的な検討事項は単に”means(手段)”という言葉の有無ではなく、クレームの文言が当業者にとって構造の名称として十分に明確な意味を有すると理解されるか否かである」と教示している。出願人が§112(f)の適用を回避することを目的として用いてきた戦略の一つに、”divert”の動詞から“diverter”といった行為者名詞((-erまたは-orを付す名詞)に置き換える方法がある。このような行為者名詞が、当業者に広く知られた具体的構造(例えば、“resistor” や “capacitor”)を示すとき、§112(f)の問題は起きにくい。一方、Magnolia判決では、“determiner”、“optimizer”、“provider”または“implementer”のような当業者にとって周知の構造を想起させない行為者名詞の体裁に動詞を名詞化するだけでは、§112(f)の適用を回避するには不十分でありうることを明確にしている。とりわけ、クレームの用語に、その機能を実行するのに十分な構造が含まれていない場合には、その可能性が高くなる。
コンピュータ実装型の発明に関しては、Gramm判決において、ソフトウェアを用いず、物理的な論理ゲートに依拠してタスクを達成するハードワイヤード制御ユニットによって行われる発明の実施形態(例えば、タスクがスイッチ、ダイオード、デコーダ、カウンタ、フリップフロップ、マルチプレクサを用いて実行される形態)については、ミーンズ・プラス・ファンクション限定におけるアルゴリズム要件を回避できる可能性があることが示された。これは、それぞれのタスクに応じた特定のソフトウェアを実行することで、多種多様なタスクを柔軟に実行できる汎用コンピュータ上で実現されるミーンズ・プラス・ファンクションクレーム限定とは対照的である。さらに、Gramm判決では議論されていないものの、我々の経験上、クレーム自体に“processor”の文言を記載するよりも、“circuitry”の文言を記載するほうが、§112(f)の適用を受ける可能性は低いように見受けられる。
参考文献
本判例は、以下のリンクでご覧いただくことができます。
https://www.cafc.uscourts.gov/opinions-orders/24-2001.OPINION.3-6-2026_2657508.pdf
https://www.cafc.uscourts.gov/opinions-orders/24-1598.OPINION.3-11-2026_2659493.pdf
[1] Williamson v. Citrix Online, LLC, 792 F.3d 1339 (Fed. Cir. 2015) (en banc) を参照。
[2] WMS Gaming Inc. v. International Game Technology, 184 F.3d 1339 (Fed. Cir. 1999).
[3] コンバイン収穫機やコンバインとも呼ばれる。
[4]‘395特許の独占的実施権者であるReaper Solutions, LLCは、本訴訟の共同原告である。
[5] 本訴訟は当初、インディアナ州北部地区地方裁判所に提起された。
[6] CAFCの判例では、明細書において市販装置を一般的に言及している過ぎない場合であっても、当業者が明細書の記載からその構造を理解できる限りにおいては、市販実施形態をミーンズ・プラス・ファンクション限定における対応構造として認めることを許容している。
- 本欄の担当
- 弁理士法人ITOH
所長 弁理士 伊東 忠重
副所長 弁理士 吉田 千秋
担当: 弊所米国オフィスIPUSA PLLC
米国特許弁護士 Herman Paris
米国特許弁護士 有馬佑輔